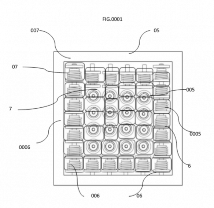
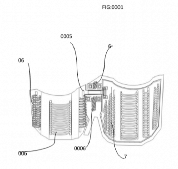
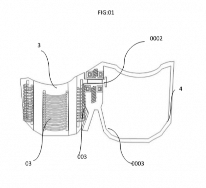
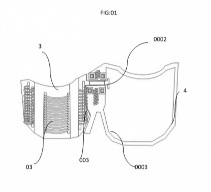
WEARABLE MULTIPLE BIONIC MANNED UAV EMS EDS BIOMECHATRONIC FLIGHT SUIT MACHINE BRACE ORTHOSIS BIOMETRIC RANGE
METHOD OR APPROACH COOLING MAGNET WIRE COPPER MAGNETIC LEVITATION COIL TRANSDUCTOR TWO OR ONE (DC) PHASE AUDIO WIRE METHOD (MAGNETIC REFRIGERATION) OF AWG# 24 INDUCTOR WIRE CATHODE ANODE CURRENT CARRYING TWO OR ONE PHASE WIRE JUNCTION TYPE SEEBECK EFFECTS, PELTIER EFFECTS COOLING INDUCTOR WIRE BARING THERMOCOUPLE CURRENT CARRYING FUNCTIONAL LIKENESSES AS AN BRUSH ROTARY THERMOCOUPLE CURRENT CARRYING JUNCTION PHASE WIRE BYPASS JUNCTION MATERIALS SILICON BRUSH BLOCK FILAMENT BISMUTH CORE STAINLESS STEEL BARING MAGNET COPPER AUDIO WIRING ACTION CURRENT CARRYING BLOCK BRUSH GENERATOR CHARGE JUNCTION BYPASS TYPE ROTARY SHAPE SPHERICAL MATERIAL SILICON CORE CONTAINS BISMUTH FILAMENT BARING STAINLESS STEEL BARING COPPER COATED AUDIO WIRING CURRENT CARRYING PHASE BY JUNCTION BYPASS THERMOCOUPLE CURRENT CARRYING MATERIALS SILICON BRUSH BLOCK BISMUTH FILAMENT CORE STAINLESS STEEL BARING MAGNET COPPER AUDIO WIRING ACTION CURRENT CARRYING BLOCK BRUSH. THERMOCOUPLE SPHERICAL ROTARY JUNCTION MAGNETIC REFRIGERATION APPROACH SOLENOID PULL PUSH GADOLINIUM BORE APPLICATION INTRODUCED SILICON SPHERICAL ROTARY REACTOR TYPE THERMOELECTRIC EFFECT REFRIGERATION SEEBECK EFFECTS PELTIER EFFECTS COOLING JUNCTION SILICON BRUSH BARING STAINLESS STEELS SUBZERO TEMPERATURE to -269°C (-452°F . SYNCHRONOUS AC CHARGED VOLTAGE TRANSFORMER TRANSDUCTOR DIAMAGNETIC REPULSIVE ACTUATOR SELF SUSPENSION SELF LEVITATION ANTI-GRAVITY UAV MACHINES

